Torque converter repair: Peculiarities and Useful Tips
Torque converter repair: Peculiarities and Useful Tips
In fact, the essence of the repair of any mechanism is the same and includes the following stages: Disassembly, fault detection, repair procedures, and reassembly of the unit. The last step is the performance check. In this article we'll consider the main difficulties and peculiarities of the torque converter repair.
If we apply the abovementioned algorithm to the torque converter, then we’ll get the following:
- Torque converter cutting;
- Washing of all internal parts;
- Fault detection;
- Rebuilding and replacement of worn parts;
- Torque converter body welding;
- Welding seam tightness check;
- Internal clearance check between torque converter parts;
- Balancing adjustment.
Torque converter cutting
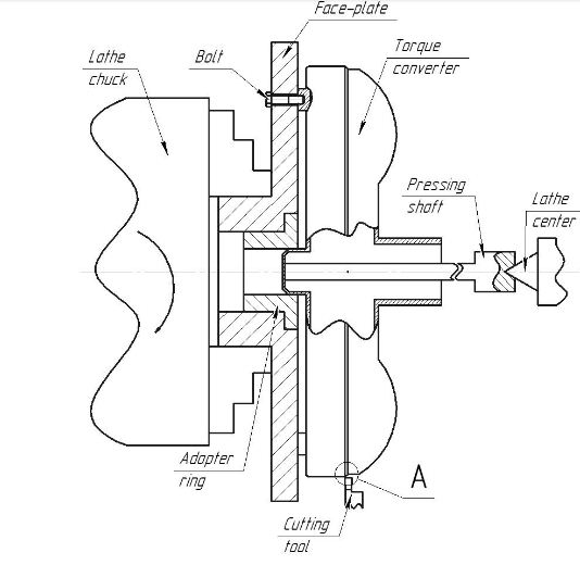
First of all, it is necessary to cut open the torque converter. For this purpose, transmission repair specialists typically use a lathe machine, the height of centers of which allows to install and to cut the torque converter on the lathe machine. For passenger cars, the height of centers must be at least 200mm. The most common installation layout of the torque converter on the lathe machine looks as follows:
The faceplate is locked in the lathe chuck. The torque converter is mounted on the faceplate. The torque converter is centered with the help of an adapter ring, and is pressed to the faceplate by the tailstock center via the pressing shaft. The bolt transmits rotation from the faceplate to the torque converter. Before you cut open the torque converter, it is necessary to carefully examine its hub and, if needed, clean it with fine emery paper.
The next step is the converter cutting itself. In principle, this procedure is the same for all types of torque converters. The only difference can be in the welding seam location: it can be welded from the hub side or from the pilot side. In some torque converter models, there is an oil drain plug, which can be unscrewed to drain ATF before cutting the torque converter open. The cutting operation can be performed by different tools and with the help of various methods. It all depends on skills and preferences of the person performing the operation.

On the presented scheme we can see that it is
possible to cut the torque converter with longitudinal and cross feed to cut
off the welding seam and its root.
Frequently, in the process of the torque
converter cutting you can notice the appearance of smoke because of ATF, which
starts leaking via clearances between the halves of the torque converter being
cut. Thanks to this phenomenon, you can find out that the torque converter is
almost cut open.
Washing of all internal parts
After the torque converter is cut and the main amount of ATF has leaked out, it is necessary to thoroughly wash all its elements. It is possible to wash converter parts using specialized washing machines or manually with the help of kerosene and a brush. If washing is done with water solutions, then it is necessary to take measures to prevent corrosion of torque converter parts. The torque converter washing in petroleum-based solvents is quite harmful for your health and can be fire-dangerous. Therefore, when working with solvents, it is essential to ensure good ventilation conditions and fire safety. The process of torque converter parts washing implies a complete disassembly of the unit. If you don’t have enough experience in working with torque converters, then it is better to clean parts one-by-one, and then install the washed parts on their places in the torque converter unit.
Fault detection and torque converter rebuilding
Further steps on the torque converter repair may vary depending on the specific model of the torque converter. In this article, we will examine the most popular torque converter design solutions and describe peculiarities of their repair on specific examples. The main difference in torque converter designs lies in the lockup mechanism.
Automatic transmission 5L40
Firstly, we will consider the torque converter installed in the 5L40 transmission, which is frequently installed on BMW models. After cutting open this torque converter, we can see that there is no friction material on the lock-up plate. Due to the lack of friction material, the lock-up plate has been rubbing against the torque converter body, leading to the mechanical wear-out of these elements.
To fix this issue, it is necessary to recondition the surfaces of the body and of the lock-up plate, and to replace friction material on the plate.
Reconditioning
of the torque converter housing surface
is performed on the lathe machine,
by shaping the surface, on which the friction lining operates. It is necessary to
achieve the maximum surface roughness parameter in order to reduce the wear of
friction material in the process of the torque converter operation. Mounting of the torque converter
body on the lathe machine is similar to the mounting of the entire torque
converter.
Reconditioning of the lock-up plate surface is also
performed on the lathe machine; however, it is rather difficult to mount the
lock-up plate on the machine separately, since the hub projects above the plane
of the lock-up plate on both sides. The easiest way to perform this task is to
install a small diameter torque converter on the faceplate of the lathe. After
that, press the lock-up plate to the torque converter body as shown in the
image below.
When we are talking about the surfaces of the lock-up
plate and the converter body, it is necessary to perform their shaping without
the occurrence of the axial runout of these planes. The axial runout will lead
to the gapping between the lock-up and the body, resulting in decreased
efficiency of the torque converter.
Reconditioned surface
Friction lining
installation
Friction lining
bonding
In most cases, friction linings are made with an
adhesive compound spread on one of its sides. It is desirable to receive
recommendations on how to perform the bonding procedure correctly from the supplier of
these friction linings. Basically, for bonding, it is necessary to heat up the body
material to the temperature of 170...200 °
С and to create pressure on the bonding area. Under the influence of temperature
the adhesive compound becomes fluid, filling roughness in the metal and then
the adhesive polymerizes.
Result
If the fluoroplastic ring is worn out, it is necessary
to replace this ring with a new one. In our case, the repair specialist decided
to leave the old ring.
There is
also a clearance in the turbine hub. To fix this problem, you can repress the
rivets that keep the hub fixed.
Due to the fact that the considered torque converter
operated without the friction lining, repair specialists found metal shavings
inside. These shavings can find their way to all transmission elements by means
of transmission fluid and cause the wear-out to these elements. Therefore, it is
necessary to inspect torque converter internals and remove metal shavings, which
got on the blades of the turbine and the impeller, and also check the one-way
clutch for presence of metal shavings.
After eliminating of all the above-mentioned malfunctions, it is possible to proceed with the torque converter welding.
Automatic transmission 722.9
Next torque converter under consideration is the unit installed in automatic transmission 722.9 produced by Mercedes. After the torque converter was cut open and washed, specialists found out that the friction material on discs started crumbling. Most likely, this process was caused by the mixture of coolant and ATF. Damaged friction discs must be replaced.
In general, torque converters, produced by Mercedes, are easy to repair, as they do not require mechanical operations on shaping of lock-up clutches, etc. In many cases, there is a clearance of the outer race of the one-way clutch; therefore it is necessary to check the presence of this problem in each particular repair case. For this purpose, it is necessary to remove the cover from the one-way clutch, and remove the inner race and the cage with rollers and spring elements.
The next step is to find out whether there is a
clearance between the cage and the torque converter stator.
If there is no clearance in the outer race of the one-way clutch, then it is necessary to wash the internal elements and to assemble the stator. If there is a clearance, then you have to press out the outer race of the one-way clutch and to examine how it fits. If there is a slight clearance and insignificant wear of splines on the stator, then you can lubricate the outer race seat with a hermetic/sealing compound. If the splines are broken, then you have to replace the entire torque converter stator. Surfaces of the steel rings operating in pair with friction discs should be cleaned with fine emery paper.
In the process of the torque converter
operation, rubber seal rings lose their elasticity. This has a bad impact on adherence of seals to the
counterparts. Therefore, it is essential to replace all seal rings, if you have
any doubts about their elasticity.
The next step is to install the piston in the
torque converter body.
Following installation of the friction package implies
successive mounting of metal rings and friction discs.
Then, it is necessary to install the circlip
The clearance parameter for the whole friction package can be calculated as follows: the clearance for each friction ring must lie within the range from 0,25 to 0,4 mm. Thus, this parameter for the package of 3 friction discs is 0,75...1,2 mm.
The recommended parameter can be achieved by installing friction discs of different thicknesses, which are provided by manufacturers of spare parts. Now it is needed to perform the clearance check in the friction package.
Torque converter body welding
The next step is the torque converter welding
In the process of welding, the cover is pressed
to the torque converter body by the welding seam, therefore before welding it
is necessary to lift slightly (usually at 0,3 mm, but this parameter also
depends on welding settings) the torque converter cover in order to prevent
blocking of the torque converter internals during the welding process
.
Internal clearance check between torque converter parts
Now let us consider the expansion clearance parameter. The torque converter repair is performed at room temperature, and the torque converter heating temperature in the process of operation is approx.100 ° С. In the process of heating, torque converter parts get expanded. Therefore, it is necessary to leave some clearances between internal parts of the torque converter. The clearance value must be about 0,15 mm for each bearing (regardless of whether it is a rolling bearing or sliding bearing). As a result, the overall clearance parameter in the welded torque converter with 3 bearings must be approx. 0,45 mm.
Welding seam tightness check
The air-tightness check is usually performed as follows:
An excessive pressure is created in the welded torque converter and the unit is immersed in water or the welding seam is sprayed with soap suds. A drop in pressure in the torque converter will indicate a leak in the welded joint, and bubbles on the seam will specify the leak location.
As for the balancing adjustment, this process is quite complex and requires more detailed explanation. Therefore we will consider this procedure in some of the article to follow